QVC-2气动真空上料机
QVC-2气动真空上料机是利用压缩空气通过真空发生器产生高真空实现对物料的输送,不需要机械式真空泵,具有结构简单、体积小、免维修、噪音低、控制方便、消除物料静电和符合GMP要求等优点。是压片机、胶囊填充机、干法制粒机、包装机、粉碎机、振动筛等机械自动上料的设备。
当压缩空气供给真空发生器时,真空发生器就产生负压形成真空气流,物料被吸入吸料咀,形成物气流,经过吸料管到达上料机的料仓内。过滤器把物料与空气*分离,当物料装满料仓时,控制器会自动切断气源,真空发生器停止工作,同时料仓门自动开启,物料落到设备的料斗中。与此同时,压缩空气通过脉冲反吹阀自动清洗过滤器。等到时间到或料位传感器发出上料信号时,自动启动上料机。
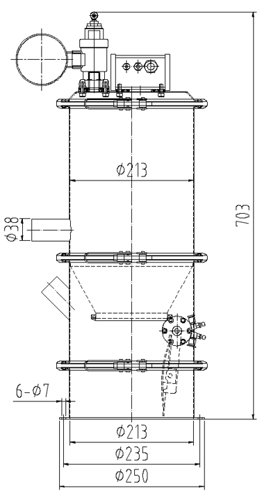
产品结构

尺寸规格

技术参数
| 品名型号 | 输送量 | 料仓容积 | 工作压力 | 压缩空气消耗量 |
| QVC-2气动式真空上料机 | 100~700kg/h | 6.0L | 0.4~0.6Mpa | 360NL/min |
